Notice
Recent Posts
Recent Comments
Link
| 일 | 월 | 화 | 수 | 목 | 금 | 토 |
|---|---|---|---|---|---|---|
| 1 | 2 | 3 | 4 | |||
| 5 | 6 | 7 | 8 | 9 | 10 | 11 |
| 12 | 13 | 14 | 15 | 16 | 17 | 18 |
| 19 | 20 | 21 | 22 | 23 | 24 | 25 |
| 26 | 27 | 28 | 29 | 30 |
Tags
- 업데이트
- 터미널
- tevo
- AirPods
- 맥
- IOS
- 모하비
- asahi linux
- sierra
- 에어팟
- Mac
- 3D프린터
- high sierra
- beta
- mojave
- 터치바
- 버그
- 3D 프린터
- iOS 13
- Fedora
- Tarantula
- 컨트롤러
- 아이폰
- catalina
- macos
- 맥북프로
- 애플
- Linux
- asahi
- 시에라
Archives
- Today
- Total
목록magsafe 1
elsa in mac
애플, 맥북 USB-C 포트용 MagSafe 나오나 ?
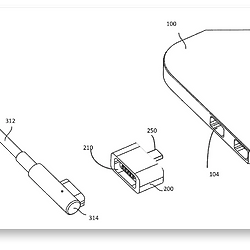
미 특허청으로 부터 공개된 Apple의 특허 하나가 관심을 끔니다.. 티이틀은 Magnetic Adapter.. 딱봐도, 과거 2015년에 사라진 MagSafe의 그것을 연상시킵니다 MagSafe는 전원 커넥터에 자석을 도입, 불의의 실수로 전원 케이블이 걸려 나의 소중한 맥북이 케이블과 함께 질질 끌려 추락하는 불 상사를 막기 위해 애플이 2006년에 도입한 커넥터 방식을 말하죠..이러한 절대적인 필요성을 뒤로 하고, 2016년 10월.. 신형 MacBook과 4세대 MacBook Pro에 USB-C 포트가 도입되면서, MagSafe도 자연스럽게 사라졌습니다. 하지만, 포트가 변경되었다고 해서, 전원케이블에 발이 결려도 MacBook이 온전하리란 보장은 없으니..... 당연히, USB-C 포트에 대응하..
애플 및 기타 IT 소식/애플 관련 소식
2017. 4. 4. 15:04
