| 일 | 월 | 화 | 수 | 목 | 금 | 토 |
|---|---|---|---|---|---|---|
| 1 | 2 | 3 | 4 | 5 | 6 | 7 |
| 8 | 9 | 10 | 11 | 12 | 13 | 14 |
| 15 | 16 | 17 | 18 | 19 | 20 | 21 |
| 22 | 23 | 24 | 25 | 26 | 27 | 28 |
| 29 | 30 | 31 |
- Fedora
- Linux
- 3D 프린터
- 애플
- 3D프린터
- sierra
- beta
- 버그
- 컨트롤러
- 맥
- AirPods
- high sierra
- Tarantula
- IOS
- Mac
- 터미널
- 에어팟
- 터치바
- 맥북프로
- 업데이트
- iOS 13
- macos
- asahi linux
- 아이폰
- catalina
- 모하비
- mojave
- tevo
- asahi
- 시에라
- Today
- Total
elsa in mac
애플, 에어팟(AirPods) 지원 홈페이지 개설 본문
애플이 미국 현지시각 기준으로 전 세계 애플 온라인 홈페이지를 통해 에어팟(AirPods) 판매에 들어가면서, 에어팟을 기다려 온 국내 소비자들 입장에서는 시차로 인해 거의 자정이 다 되어 온라인 판매가 열리면서 크리스마스 전 배송이 가용했던 초반 예판을 놓치신 분들이 많아 보입니다.
예상했던 대로 초판 물량이 적어서인지 아니면, 많은 분들이 신속하게 구매해서인지는 모르겠지만 하루도 안되어 벌써 배송이 4주 이상으로 밀려나가 있네요... ㅠㅠ
어찌되었던 본격적인 AirPods 판매가 시작되면서, 이와 관련된 지원 홈페이지들도 속속 등장하고 있습니다. 특히 AirPods의 경우, 애플의 다양한 기기들과 연결하여 사용할 수 있고, 기능들도 매우 많기 때문에 특별 페이지를 통해 통합적인 안내를 하는 것 같습니다. AirPods의 기능이 궁금하신 분들이나, 혹은 이미 예약을 해 놓으신 분들은 에어팟이 도착하기 전에 사용방법이나 주의 사항을 사전에 숙지해 놓으 시기 바랍니다. ^^
저도 AirPods를 기대려 왔었기 때문에 어제 판매 소식을 접하자마자 곧바로 구매를 했는데요.. 이 시점에서 딱 두 가지가 궁금합니다. 하나는 음질.. 이것은 직접 들어보지 않는 한 확인이 불가하죠.. 그리고 나머지 하나는 Siri를 통한 컨트롤이 얼마나 원할하고 자연스러우면서 편리한가 ? 하는 점입니다.
AirPods가 무선이다 보니, 특별히 별도의 Controller가 없기 때문에 오직 AirPods를 귀에 꽃았는가 뺏는가와 AirPods 외부를 이중 탭하는 동작 이외에는 거의 모든 제어를 Siri를 통해 명령해야 하는데, 이것이 원할하지 못하다면 없느니만 못하기 때문입니다.
물론, 어련히 잘 되겠거니 생각하고 있지만.. 정말 이 두가지만 기대에 부응한다면, 22만원 이라는 가격에 후회는 없을 듯 합니다.
'애플 및 기타 IT 소식 > 애플 관련 소식' 카테고리의 다른 글
| 애플, 에어팟(AirPods) 배터리 교체 및 한쪽을 분실했을 시 별도 구매 비용 공지 (0) | 2016.12.16 |
|---|---|
| 에어팟(Airpods)의 배터리 수리비용은 ? (0) | 2016.12.15 |
| 애플 공홈, AirPods 판매 개시 (국내 공식 홈페이지 에서도 구매 가능) (0) | 2016.12.13 |
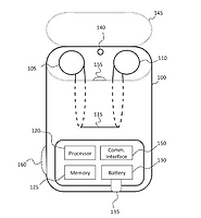
| 애플의 AirPods 관련, 특허 문서 2종 공개 (0) | 2016.12.12 |
| 애플, 캘린더 스팸 문제 해결을 위해 icloud 캘린더에 Report Junk 도입 (0) | 2016.12.12 |